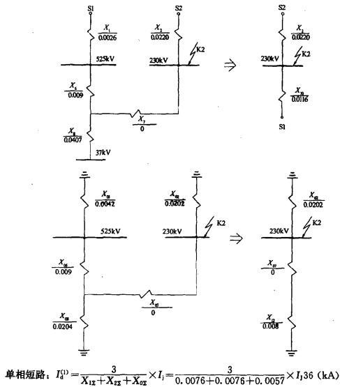
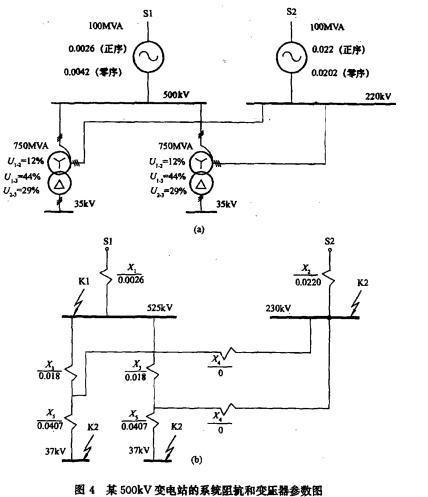
某500kV变电站已知系统阻抗和变压器参数如图4所示,站址位于一块荒地上,围墙外面有水塘。 根据系统阻抗和变压器参数,220kV电压母线单相短路电...

作者: rantiku 人气: - 评论: 0
问题 某500kV变电站已知系统阻抗和变压器参数如图4所示,站址位于一块荒地上,围墙外面有水塘。 根据系统阻抗和变压器参数,220kV电压母线单相短路电流值应为( )。 A.41kA;B.30kA; C.36kA; D.25k
选项 A。
答案 C
解析 解答过程:根据《电力工裎电气设计手册》(1)第4章短路电流计算。220kV中性点直接接地,零序阻抗计算归算到K2点的零序阻抗: 根据以上计算结果,所以答案选择C。

猜你喜欢

发表评论
更多 网友评论0 条评论)
暂无评论

访问排行

Copyright © 2012-2014 题库网 Inc. 保留所有权利。 Powered by tikuer.com

页面耗时0.0306秒, 内存占用1.03 MB, Cache:redis,访问数据库19次